今天是
加入收藏
|
设为首页
单位简介
|
机构设置
|
领导之窗
|
资质荣誉
政府信息公开
|
政务公开栏目
|
政务动态
|
政策法规
|
疑难解答
|
发展规划
|
美丽广西 清洁乡村
|
精神文明
公路新闻
|
图片新闻
|
公路视点
|
公路图片展示
行政审批事项
|
办事指南
|
表格下载
|
其他许可通告
出行服务信息
|
路况通告
|
路况查询
收费站专栏
|
扶贫领域专栏
政务咨询
|
调查征集
|
投诉举报
|
互动访谈
|
当前位置:
网站首页
→
行政审批
→
办事指南
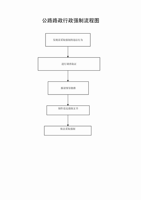
公路路政办理工作流程图
减小字体
增大字体
作者:佚名 来源:本站整理 发布时间:2013-07-27 11:46:33
公路路政办理工作流程图
Tags:
作者:佚名
[
] [
返回上一页
] [
打 印
]
3
好的评价
如果您觉得此新闻好,就请您
100%
(
3
)
差的评价
如果您觉得此新闻差,就请您
0%
(
0
)
·上一篇新闻:
行政职权目录分表
·下一篇新闻:
河池市人大副主任韦志鹏到河池公路管理局调研
用户名:
!
查看更多评论
分 值:
100分
85分
70分
55分
40分
25分
10分
1分
内 容:
!
通知管理员
验证码:
点击获取验证码
栏目导航
行政审批事项
办事指南
表格下载
其他许可通告
本类热门阅览
·
公路路政办理工作流程图
相关文章
››
公路路政办理工作流程图
Copyright © 2010-2012 GXHCGLJ.GOV.CN All Rights Reserved 广西河池公路管理局 版权所有
地址:广西河池市金城江区东江路5号 值班电话:(0778)2550111 传真:(0778) 2553886
主办单位:河池公路管理局 信产部ICP备案:桂ICP备11000109 号   网警备案号:45270102000093